高效送风口 – 广州梓净净化设备有限公司 http://www.52xiaomantou.cn Fri, 06 Mar 2026 01:30:51 +0000 zh-CN hourly 1 https://wordpress.org/?v=5.0.22 http://www.52xiaomantou.cn/wp-content/uploads/2017/10/cropped-11100-1-32x32.jpg 高效送风口 – 广州梓净净化设备有限公司 http://www.52xiaomantou.cn 32 32 500风量DOP液槽高效送风口 http://www.52xiaomantou.cn/1474.html http://www.52xiaomantou.cn/1474.html#respond Thu, 19 Jul 2018 06:40:04 +0000 http://www.52xiaomantou.cn/?p=1474
500风量DOP液槽高效送风口产品介绍:
500风量DOP液槽高效送风口是高效送风口的一种做法。
具有可更换高效过滤器的已液体密封方式的高效送风口,DOP液槽高效送风口(Pharmagel)广泛应用于医院、生物制药、半导体、液晶制造、精密机械、光学等技术领域。
500风量DOP液槽高效送风口
500风量DOP液槽高效送风口
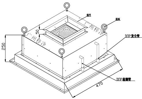
500风量DOP液槽高效送风口方案设计图:
500风量DOP液槽高效送风口方案设计图
500风量顶送风DOP液槽高效送风口外形尺寸W470*D470*H250mm
500风量双液槽高效过滤器进风面
500风量双液槽高效过滤器尺寸为400*400*100mm
推荐了解更多图片信息:双液槽高效过滤器图片
配套手动调节阀尺寸:方形200*200mm
500风量DOP液槽高效送风口技术参数表:
500风量DOP液槽高效送风口技术参数表
500风量DOP液槽高效送风口技术参数表包含500、1000、1500风量。
500风量DOP液槽高效送风口设计特点:
1、箱体表面采用静电喷塑处理,耐腐蚀性强,液槽密封设计进一步增强 了它的独特性。箱体主要采用冷轧钢板已焊接的方式连接,且所有的焊接都经过 特殊的胶密封处理,以防止空气泄漏。散流板以固定螺栓所固定,安装及拆卸较为方便,更换过滤器时,可直接在天花底部进行操作,而无需拆除天花 板系统上的箱体。
2、箱体顶部进风口中装有蝶形风阀,且在箱体底部的侧面用一个旋转的阀门调节装置控制,以调节进入洁净室内的风量。
3、过滤器的框架通过箱体四周的过滤器压件所支撑固定,为方便更换过滤器,所有过滤器压件能自由旋转。
4、并可防止空气通过倒行框架泄漏及箱体刀边滑出过滤器框架胶槽。
500风量DOP液槽高效送风口产品实拍
500风量DOP液槽高效送风口产品实拍

相关产品视频:500风量DOP高效送风口

由于DOP液槽高效送风口主要用于GMP制药厂洁净室高效送风,制作结构复杂,价格昂贵,如果不是药厂可选用普通新型高效送风口。

普通新型高效送风口主要有:

500风量高效送风口

1000风量高效送风口

1500风量高效送风口

2000风量高效送风口

]]>
http://www.52xiaomantou.cn/1474.html/feed 0
新型2000风量高效送风口 http://www.52xiaomantou.cn/1277.html http://www.52xiaomantou.cn/1277.html#respond Sat, 23 Jun 2018 02:52:08 +0000 http://www.52xiaomantou.cn/?p=1277 新型2000风量高效送风口介绍:

外形尺寸:W1018*D534*H210

无隔板高效过滤器:968*484*80

法兰Φ300mm;

手动调节阀Φ300mm

风量2000m3/h;

以上尺寸为顶部送风,咨询、订购时请注明,侧送风为W1018*D534*H400 mm

新型2000风量高效送风口
新型2000风量高效送风口【产品实拍,顶送风1018*534*210mm 】

【产品视频】

新型2000风量高效送风口产品视频
新型2000风量高效送风口产品视频
高效送风口结构图
高效送风口结构图

配置说明:

1、一套高效送风口含法兰、静压箱体、散流板、高效过滤器四件套(四件套可参考:高效送风口四件套),散流板采用冷轧钢板烤漆制作,静压箱体采用镀铝锌板制作,法兰及调节阀采用镀锌板制作;

2、配无隔板高效空气过滤器:效率99.99%@0.3um,玻璃纤维滤纸,初阻力:140pa。

2000风量高效送风口无隔板高效过滤器
2000风量高效送风口内装无隔板高效过滤器【尺寸:968*484*80mm】

【产品视频】

2000风量高效送风口高效过滤器视频
2000风量高效送风口高效过滤器视频
2000风量高效送风口顶送风手动调节阀
2000风量高效送风口顶送风手动调节阀Φ300mm
2000风量高效送风口顶送风法兰接口Φ300mm
2000风量高效送风口顶送风法兰接口Φ300mm

在洁净室设计、施工中您可能还需要500、1000、1500风量的高效送风口:

500风量高效送风口

1000风量高效送风口

1500风量高效送风口

]]>
http://www.52xiaomantou.cn/1277.html/feed 0
高效送风口四件套 http://www.52xiaomantou.cn/1146.html http://www.52xiaomantou.cn/1146.html#respond Mon, 04 Jun 2018 03:46:51 +0000 http://www.52xiaomantou.cn/?p=1146 高效送风口四件套主要包括静压箱、散流板、高效过滤器、调节阀四件(也可参考:高效过滤器送风口四件套)。

下面以图文形式展现一组高效送风口四件套产品。

高效送风口四件套(静压箱+散流板)
高效送风口四件套(静压箱+散流板)

说明:

1、静压箱材质可选不锈钢、冷板烤漆、镀铝锌板;

2、散流板可选不锈钢、冷板烤漆。

高效送风口四件套之一高效过滤器
高效送风口四件套之一高效过滤器

说明:高效过滤器分为有隔板高效、无隔板高效(常规型高效送风口专用?。?/span>

高效送风口四件套之一调节阀
高效送风口四件套之一调节阀

说明:调节阀分为圆形和方形2种。

推荐了解更多更详细的高效送风口产品资料:

500风量高效送风口

1000风量高效送风口

1500风量高效送风口

]]>
http://www.52xiaomantou.cn/1146.html/feed 0
高效送风口过滤器分类 http://www.52xiaomantou.cn/1137.html http://www.52xiaomantou.cn/1137.html#respond Sat, 02 Jun 2018 02:24:26 +0000 http://www.52xiaomantou.cn/?p=1137 高效送风口过滤器用途介绍:

主要应用于各行业洁净室、无尘车间、净化车间、实验室等空气净化系统末端空气过滤。

高效送风口图片
高效送风口图片

高效送风口过滤器按制作形式分类:

有隔板高效空气过滤器(产品详情可参考:有隔板高效空气过滤器

无隔板高效空气过滤器(产品详情可参考:无隔板高效空气过滤器

1、常见的几种高效送风口过滤器(制作形式:有隔板):

木框高效送风口过滤器
木框高效送风口过滤器主要应用于常规高效送风口,优点:价格便宜。
铝框有隔板高效送风口过滤器
铝框有隔板高效送风口过滤器,主要应用于常规高效送风口。

注:以上两种是常见的有隔板高效过滤器,另外还有外框是镀锌框、不锈钢框的两种,订购时需注意!

2、常见的几种高效送风口过滤器(制作形式:无隔板):

无隔板高效过滤器
无隔板高效过滤器主要应用于新型高效送风口和常规高效送风口。

注:无隔板高效过滤器规格一般为320*320*80,484*484*80,610*610*80等等。

3、常见的几种高效送风口过滤器(制作形式:液槽式无隔板-药厂专用):

 

液槽式无隔板高效过滤器
液槽式无隔板高效过滤器专用于制药厂净化车间高效送风口。

产品详情:液槽式高效空气过滤器

目前市场上常用的就以上几种,如有特殊要求,可以联系我们哦,我们将热诚为您服务!

也可以了解一下几款常用的高效送风口:

500风量高效送风口

1000风量高效送风口

1500风量高效送风口

]]>
http://www.52xiaomantou.cn/1137.html/feed 0
药厂专用液槽高效送风口 http://www.52xiaomantou.cn/1128.html http://www.52xiaomantou.cn/1128.html#respond Fri, 01 Jun 2018 02:07:35 +0000 http://www.52xiaomantou.cn/?p=1128 液槽DOP高效送风口|液槽DOP送风口用途:

制药厂GMP洁净车间专用!同时广泛应用于医院、生物制药、半导体、液晶制造、精密机械、光学等技术领域。

不同角度下的液槽DOP高效送风口图片
不同角度下的液槽DOP高效送风口图片

液槽DOP高效过滤器产品介绍:

1、外形美观、节省空间;

2、运行成本低;

3、重量轻,易安装和更换;

4、使用寿命长;

5、法兰内灌液槽果冻胶,环保,密封可靠;

6、密封技术好;

7、刀架式框架的最佳拍档。

了解产品详情:液槽式高效空气过滤器

 

液槽高效过滤器介绍及安装方式
液槽高效过滤器介绍及安装方式

液槽DOP高效送风口|液槽DOP送风口产品介绍:

产品组成:

四件套–静压箱+液槽高效过滤器+散流板+调节阀。

调节阀材质:镀锌板或不锈钢板
调节阀结构:手动或下调式调节阀
调节阀款式:方形或圆形

液槽过滤器:侧液槽或顶液槽

静压箱:冷板烤漆或不锈钢
附件:DOP发雾管、压差管、检测管

散流板材质:冷板烤漆或不锈钢

液槽DOP高效送风口设计图
液槽DOP高效送风口设计图

箱体结构:

箱体主要采用冷轧钢板已焊接的方式连接,且所有的焊接都经过特殊的胶密封处理,以防止空气泄漏。散流板以固定螺栓所固定,安装及拆卸较为方便,更换过滤器时,可直接在天花底部进行操作,而无需拆除天花板系统上的箱体。

过滤器框架:

过滤器的框架通过箱体四周的过滤器压件所支撑固定,为方便更换过滤器,所有过滤器压件能自由旋转。并可防止空气通过倒行框架泄漏及箱体刀边滑出过滤器框架胶槽。

液槽密封设计:

与液槽密封高效送风口配套使用的过滤器的框架周围有密封胶槽。在安装过程中,装有密封胶槽与箱体四周的刀边相嵌套形成气密密封。且在更换过滤器的过程中密封胶不会黏着在箱体四周的刀边上。

液槽DOP高效送风口|液槽DOP送风口规格型号尺寸:

液槽DOP送风口规格型号尺寸

液槽DOP高效送风口|液槽DOP送风口和普通高效送风口的区别?

高效送风口一般分有普通高效送风口和液槽DOP高效送风口。

一般普通洁净车间用的是普通高效送风口带有隔板或无隔板高效空气过滤器。

而GMP要求的高效送风口是要带检测的液槽DOP高效送风口,配有液槽式过滤器,密封性更好。

液槽式高效送风口的箱体表面采用的是静电喷塑处理,耐腐蚀性强,液槽密封设计进一步增强了这种送风口的独特性。

??普通高效送风口推荐了解:

500风量高效送风口

1000风量高效送风口

1500风量高效送风口

]]>
http://www.52xiaomantou.cn/1128.html/feed 0
可更换一体化高效送风口 http://www.52xiaomantou.cn/1117.html http://www.52xiaomantou.cn/1117.html#respond Thu, 31 May 2018 02:07:37 +0000 http://www.52xiaomantou.cn/?p=1117 名称:可更换一体化高效送风口又名可更换一体化高效过滤器。

可更换一体化高效送风口进风面和出风面图片
可更换一体化高效送风口进风面和出风面图片

可更换一体化高效送风口产品特点:

1、阳极处理铝型材箱体材质,重量轻,方便搬运安装,适合安装于铝合金龙骨形式的洁净室中。

2、一体流线形镀锌钢板进风接管,进风接管直径可选φ250,φ300,φ350。

3、高效过滤器与静压箱做成一个整体,可在静压箱的进风口处配置调节阀调节送风均匀度和静压效果。

4、过滤器采用可更换式设计,不需连同箱体更换,降低成本,节省资源。

5、特殊免用工具滤网固定片,直接从室内更换滤网,安装快速,更换便利。

可更换一体化高效送风口图片
可更换一体化高效送风口图片

6、搭配室内更换专用无隔板高效空气过滤器,过滤效率高、阻力低。

7、箱体外满贴PEF保温棉,保温性能好。

8、特别适用于受土建高度限制或必须采用紧凑型设计时的洁净室,大大节省空间。

9、逐台激光扫描计数MPPS效率:95%-99.999995%(EN1822-4、5)。

10、过滤效率等级:H10、H11、H12、H13、H14、U15、U16、U17(EN1822-4、5)。

可更换一体化高效送风口产品细节图片
可更换一体化高效送风口产品细节图片

用途:可更换一体化高效送风口主要应用于洁净等级从1万级到100级的各种电子行业、医药行业、半导体行业、微电子行业等对空气品质有要求的洁净室场合。具有安装容易,高效更换方便的特点。

可更换式一体化高效送风口安装效果图

安装:可更换式一体化高效送风口可直接架在T型龙骨或直接和库板相连接,安装简便、高效的更换可以在室内进行。

可更换式一体化高效送风口常用产品尺寸、规格、型号:

可更换式一体化高效送风口尺寸
可更换式一体化高效送风口尺寸

可更换式一体化高效送风口只是一体化高效送风口的一种,可前往了解更多一体化送风口:

抛弃式一体化高效送风口

推荐了解更多梓净新型高效送风口产品资料:

500风量高效送风口

1000风量高效送风口

1500风量高效送风口

各类送风口规格、型号、尺寸参考:高效送风口规格

]]>
http://www.52xiaomantou.cn/1117.html/feed 0
抛弃式一体化高效送风口 http://www.52xiaomantou.cn/1062.html http://www.52xiaomantou.cn/1062.html#respond Wed, 30 May 2018 02:10:34 +0000 http://www.52xiaomantou.cn/?p=1062 抛弃式一体化高效送风口又称为抛弃式一体化高效过滤器,属高效送风口系列

(可参考更多送风口产品分类:高效送风口)。

抛弃式一体化高效送风口产品特性:

1、通风性强;

2、重量轻、易安装和更换;

3、100%全品出厂检漏;

4、一体化设计,可带保温棉和安装吊耳。

抛弃式一体化高效送风口用途:

主要应用于洁净等级从1万级到100级的各种电子行业、医药行业、半导体行业、微电子行业等对空气品质有要求的场合。

抛弃式一体化高效送风口组成部分说明:

抛弃式一体化高效送风口组成部分
抛弃式一体化高效送风口组成部分有吊环、主箱体、进风接口、盖板、散流板、高效过滤器(保温棉、吊环附件可?。?/figcaption>

品名:抛弃式一体化高效送风口(抛弃式一体化高效过滤器);

滤料:超细玻璃纤维滤纸;

主箱体材质:铝合金框;

主箱体盖板:镀锌板;

密封物:双组份聚胺脂胶;

分隔物:热熔胶;

密封胶条:EVA密封条;

保温棉、吊环附件可选。

抛弃式一体化高效送风口尺寸、相关参数及采购须知说明:

抛弃式一体化高效送风口尺寸

 

相关阅读:高效过滤器送风口安装注意事项

推荐了解(一体化高效送风口分类):

一体化高效送风口三种分类:

1、带DOP检测口抛弃式一体化高效送风口

2、可更换一体化高效送风口;

可更换一体化高效送风口
可更换一体化高效送风口主要特点是高效过滤器可更换,能节约成本哦。

3、抛弃式一体化高效送风口;

箱体外贴了保温棉的抛弃式一体化高效送风口
箱体外贴了保温棉的抛弃式一体化高效送风口

推荐了解更多梓净新型高效送风口产品资料:

500风量高效送风口

1000风量高效送风口

1500风量高效送风口

各类送风口规格、型号、尺寸参考:高效送风口规格

]]>
http://www.52xiaomantou.cn/1062.html/feed 0
高效送风口规格|型号|尺寸 http://www.52xiaomantou.cn/1038.html http://www.52xiaomantou.cn/1038.html#respond Fri, 25 May 2018 02:47:14 +0000 http://www.52xiaomantou.cn/?p=1038 本文主要列举一下梓净公司的高效送风口规格、尺寸、型号,图文结合,让您一目了然!

高效送风口规格|高效送风口型号|高效送风口尺寸主要分为新型、常规型、一体化、DOP液槽式四种。

四种高效送风口尺寸
四种高效送风口尺寸

四种高效送风口用途说明:

DOP液槽式高效送风口主要用于制药行业,其它三种新型、常规型、一体化一般行业都可通用!

新型高效送风口规格|高效送风口型号|高效送风口尺寸:

500、1000、1500新型高效送风口规格尺寸
500、1000、1500新型高效送风口规格尺寸方案图
2000、3000新型高效送风口规格尺寸
2000、3000新型高效送风口规格尺寸方案图

推荐了解更多更详细的高效送风口产品资料:

500风量高效送风口

1000风量高效送风口

1500风量高效送风口

常规型高效送风口规格|高效送风口型号|高效送风口尺寸:

 

常规型高效送风口产品介绍及设计图
常规型高效送风口产品介绍及设计图
常规型高效送风口尺寸
常规型高效送风口尺寸

DOP液槽式高效送风口规格|高效送风口型号|高效送风口尺寸:

DOP液槽式高效送风口方案图
DOP液槽式高效送风口方案图
DOP液槽式高效送风口规格尺寸
DOP液槽式高效送风口规格尺寸

可更换一体化高效送风口规格|高效送风口型号|高效送风口尺寸:

可更换一体化高效送风口
可更换一体化高效送风口图片
可更换一体化高效送风口尺寸
可更换一体化高效送风口尺寸

新型高效送风口安装的注意事项:

1、安装前首先重要一点,高效送风口的尺寸效率要求,必须符合洁净室现场设计要求和客户应用标准。

2、安装前需要清理清洗好产品和对洁净室全方位的清扫清洁,如净化空调系统中的灰尘,应进行清扫清除,需达到清洁要求标准才行
还有夹层或吊顶内也需要清洁,再次净化空调系统必须试运转连续运转12小时以上,再一次清洁处理。

3、的安全运输需严格按照生产厂家的标志说明方向等到,在运输过程需轻拿轻放切忌剧烈振动和碰撞。

4、安装前,需现场对送风口进行外观检查,内容包括滤纸、密封胶和框架有无损坏;边长、对角线和厚度尺寸是否符合要求;框架有
无毛刺和锈斑(金属框);有无产品合格证,技术性能是否符合设计要求。

5、进行检漏,检查和检漏是否合格,安装时应根据各台送风口的阻力大小进行合理调配。

6、洁净室内需要安装高效送风口的风口翻边和吊顶板之间的接缝施行密封垫处理,记住有裂缝的地方必须严格处理好。

忌高效送风口损坏或涂层破损不得进行安装,高效送风口安装和风管必须严格连接好,开口端用塑料薄膜和胶带加固密封处理。

以上的六个注意事项我们必须细心遵守稍有不对,是直接影响整个洁净室洁净标准,友情提示:企业购买需要选对整个产品设计生产安装实力的净化设
备厂家。

]]>
http://www.52xiaomantou.cn/1038.html/feed 0
高效送风口风速|高效过滤器送风口风速 http://www.52xiaomantou.cn/1032.html http://www.52xiaomantou.cn/1032.html#respond Thu, 24 May 2018 02:41:06 +0000 http://www.52xiaomantou.cn/?p=1032 高效送风口风速、高效过滤器送风口风速是一种概念。

为了能让大家正确理解高效送风口风速、高效过滤器送风口风速相关概念及理论,为此我们查阅了很多资料和我们撑据的相关技术展现出来,供洁净室、无尘室使用者做参考。

首先介绍一下什么是高效送风口、高效过滤器送风口?

高效送风口高效过滤器送风口)为千级、万级、十万级净化空调系统较为理想的终端过滤装置,可广泛于医药、卫生、电子、化工等行业的净化空调系统。高效送风口是用作改造和新建1000-300000级各级洁净室的终端过滤装置,是满足净化要求的关键设备。高效过滤器送风口包含静压箱,散流板,高效过滤器,与风管的接口可为顶接或侧接。

高效送风口风速测试
高效送风口风速测试

高效送风口风速、高效过滤器送风口风速怎么计算?

u=Q/F*3600

说明:

u:指的是风速或面速,单位m/s;

Q:过滤器的额定风量或高效送风口风量;

F:过滤器的截面积;

3600指的是时间,也就是3600秒。

例:1000风量高效送风口风速为:u=1000/0.484*0.484*3600=约1.3m/s

(说明:1000风量高效送风口高效过滤器尺寸为W484*L484*80mm)

通过以上公式可以计算出高效送风口风速、高效过滤器送风口风速。

???计算高效送风口风速实际上也是计算高效过滤器风速,计算方法也可参考:高效过滤器风速

洁净厂房设计规范GB 50073-2013 中洁净室气流流型和送风量规定。
洁净厂房设计规范GB 50073-2013 中洁净室气流流型和送风量规定。

通过高效送风口风速计算公式得出的结果那么问题来了:

洁净厂房设计规范GB 50073-2013 中洁净室气流流型和送风量规定并没有说明高效送风口风速是多少,这里说明一点,高效送风口或高效过滤器送风口一般是用于非单向流的洁净室,这个洁净厂房设计规范GB 50073-2013也明确说了,这个根据不同行业的洁净室而定,因为不同行业要求也不一样。

所以有些行业新人也会有一些疑问,比如:

高效送风口风量选型问题

上面提问者讲到的洁净室风速0.2-0.6m/s,只是针对单向流的洁净室(说明:2013年以后洁净室风速要参考洁净厂房设计规范GB 50073-2013标准执行),单向流洁净室一般指100级洁净室,送风天花顶部布满高效过滤器,而非单向流洁净室一般指1000级、10000级、10万级、30万级洁净室。

另外根据我们多年的经验高效送风口风速、高效过滤器送风口风速也有一些行业的参考标准,如图:

高效过滤器送风口风速行业参考标准
高效过滤器送风口风速行业参考标准

各类送风口规格、型号、尺寸参考:高效送风口型号

相关阅读:高效过滤器送风口安装注意事项

]]>
http://www.52xiaomantou.cn/1032.html/feed 0
高效送风口结构图|方案图|设计图 http://www.52xiaomantou.cn/1022.html http://www.52xiaomantou.cn/1022.html#respond Mon, 21 May 2018 01:54:52 +0000 http://www.52xiaomantou.cn/?p=1022 本文主要介绍几种常见的高效送风口结构图|高效送风口方案图|高效送风口设计图,供洁净室设计施工参考。

500、1000、1500风量新型高效送风口结构图:

新型高效送风口结构图
500、1000、1500风量新型高效送风口结构图

推荐了解更多更详细的高效送风口产品资料:

500风量高效送风口

1000风量高效送风口

1500风量高效送风口

2000、3000风量新型高效送风口结构图
2000、3000风量新型高效送风口结构图

各类送风口规格、型号、尺寸参考:高效送风口尺寸

相关阅读:高效过滤器送风口安装注意事项

推荐了解更多产品分类:高效送风口

]]>
http://www.52xiaomantou.cn/1022.html/feed 0